江南电竞logo >浙江高考 >浙江江南app平台下载安装官网苹果 >浙江理综试题 >

浙江绍兴2025年4月高三二模技术试题及答案

时间: 浙江 理综试题

浙江绍兴2025年4月高三二模技术考试已于近日开考,为方便考生考后及时查看考试情况,查漏补缺、弥补不足,本文整理了试题答案解析相关信息!

汇总:浙江绍兴2025年4月高三二模试题及答案汇总

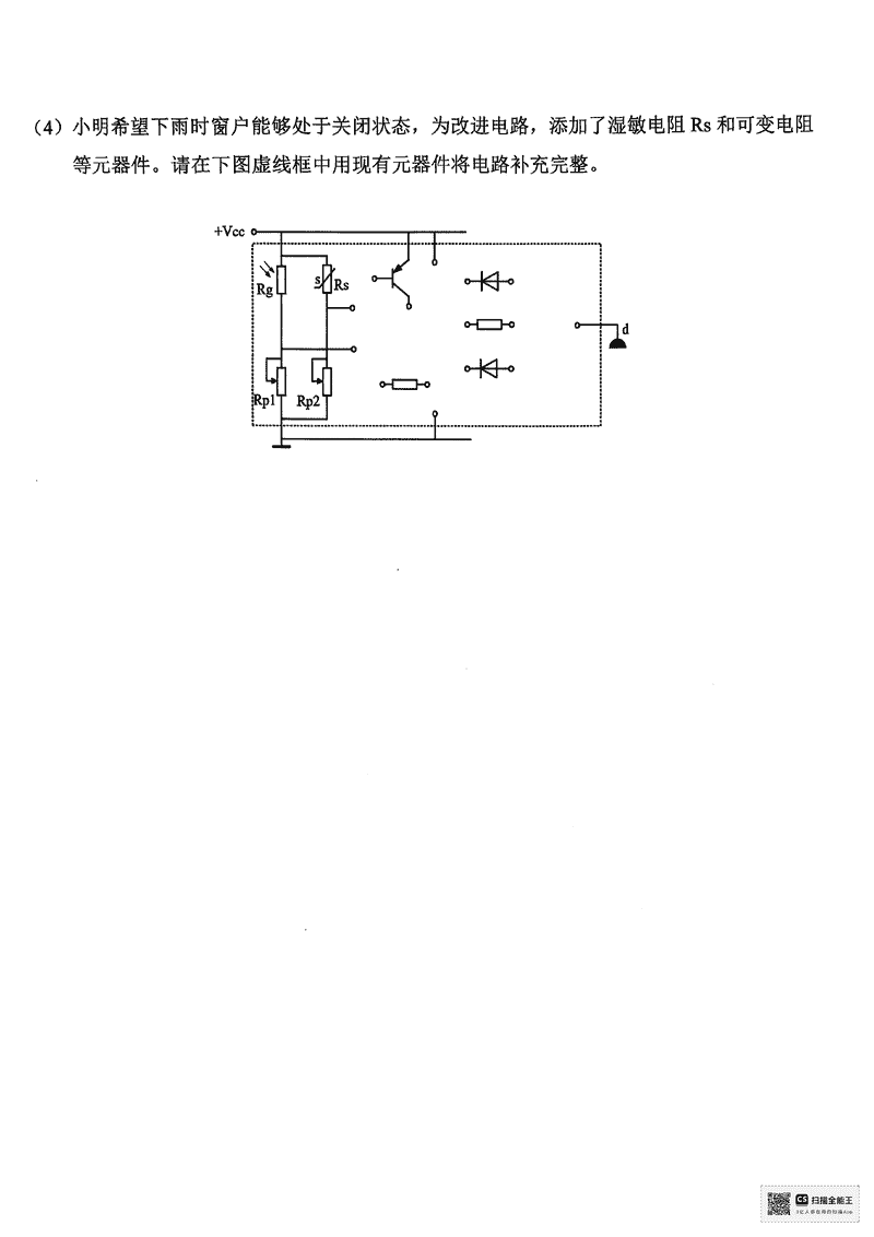
技术试题及答案解析


Baidu
map