2024贵州高考志愿填报系统计划查询功能已开放
时间:
贵州
填报指导
贵州省高考志愿填报系统2024年招生计划查询功能及收藏夹功能已开通。即日起,考生可登录系统进行查询并将自己感兴趣的招生计划进行收藏,为正式填报志愿做好准备。
一、系统登录
考生登录贵州省普通高校招生考试考生综合信息平台http://gkks.eaagz.org.cn,输入证件号或考生号,选择“密码登录”或“短信登录”(短信登录须绑定手机号)。推荐使用最新版谷歌浏览器或360浏览器(极速模式),分辨率1920*1080以上电脑进行访问。

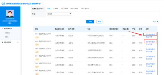
二、计划查询
登录系统后,在【我的志愿填报】→【计划查询】栏目,查询2024年招生计划。

可通过“院校条件筛选”和“专业条件筛选”筛选院校专业信息。

注意:“院校条件筛选”和“专业条件筛选”为联动查询,筛选院校后再筛选专业,查询结果为筛选院校的对应专业。可点击“重置”按钮清空已选条件。
三、添加至收藏夹
考生查询招生计划时可将感兴趣的专业“添加至收藏夹”进行收藏。

